Skip to content Skip to sidebar Skip to footer

Wet Sump Lubrication System

Wet And Dry Sump Lubrication System Studentlesson

Wet And Dry Sump Lubrication System Studentlesson

Wet sump lubrication system. After the oil passes through the engine it returns to the sump. Two Basic types of librication system used in an aircraft. After lubricating these parts the oil Bows back to the sump by gravity.

Within piston engines a wet sump is part of a lubrication system whereby the crankcase sump is used as an integral oil reservoir. A wet sump system is based off the original oiling system and can be enhanced with aftermarket parts. A dry sump system is meant for the top levels of racing where maximum power and control are necessary.

Three types of Piston Rings Compression Rings Oil Control Rings Oil Scraper Rings 431 434. Although a Wet Sump system is essentially the same system. Climbing-Oil Lubrication Gears rotating through a wet sump lift clinging oil into gear mesh zones.

These wet sump systems are one of the simplest systems in every engine. Oil is carried in a sump which is an integral part of the engine Figure 2 The main component is the oil pump which draws oil from the sump and routes it to the engine. This scheme comprises of a big oil storage capability at the crank chamber foundation.

The oil pan serves as both the oil tank holding the supply of lubricating oil and the oil sump where oil eventually collects after making its way through the engine. This type of lubrication is often used in passenger cars. Wet sump systems maintain oil in reservoirs integral to the engine while dry sumps do not leaving the sump dry Wet-Sump.

Piston engines are lubricated by oil which is pumped into various bearings and thereafter allowed to drain to the base of the engine under gravity. It is collected up by a pump and circulated through the engine lubricating system. Wet sump Dry sump 428 430.

Oil tanks are usually constructed of aluminum alloy and must withstand any vibration inertia and fluid loads expected in operation. Four Types of Piston Head Recessed Head Dome Head Truncated Cone Head Cupped Head 435 437.

How Is Oil Distributed Through The Engine In A Wet Sump System Aviation Stack Exchange

How Is Oil Distributed Through The Engine In A Wet Sump System Aviation Stack Exchange

Wet Sump Lubrication System Youtube

Wet Sump Lubrication System Youtube

Wet And Dry Sump Lubrication System Studentlesson

Wet And Dry Sump Lubrication System Studentlesson

Aviation Dictionary Enacademic

Aviation Dictionary Enacademic

Lubrication System

Lubrication System

Lubrication System For An Automobile

Lubrication System For An Automobile

6 Different Types Of Lubrication System In Automobile With Pdf

6 Different Types Of Lubrication System In Automobile With Pdf

Oil System Internal Gear Type Pump

Oil System Internal Gear Type Pump

Wet Sump Vs Dry Sump Lubrication Systems Zigwheels

Wet Sump Vs Dry Sump Lubrication Systems Zigwheels

How A Dry Sump Lubrication System Work How Dry Sump Engine Works Youtube

How A Dry Sump Lubrication System Work How Dry Sump Engine Works Youtube

Oil System Differences Wet Vs Dry Sump Know Your Parts

Oil System Differences Wet Vs Dry Sump Know Your Parts

Pros And Cons Of A Dry Sump Engine Oiling System

Pros And Cons Of A Dry Sump Engine Oiling System

Wet Sump Lubrication System 3 Types Of Wet Sump Lubrication System

Wet Sump Lubrication System 3 Types Of Wet Sump Lubrication System

Engine Cooling And Lubrication Engine Cooling During Combustion

Engine Cooling And Lubrication Engine Cooling During Combustion

Wet And Dry Sump Lubrication System Studentlesson

Wet And Dry Sump Lubrication System Studentlesson

Dry Sump Lubricating System By G Dineshpiran

Dry Sump Lubricating System By G Dineshpiran

Reciprocating Engine Lubrication Systems Oil Pumps

Reciprocating Engine Lubrication Systems Oil Pumps

6 Different Types Of Lubrication System In Automobile With Pdf

6 Different Types Of Lubrication System In Automobile With Pdf

Different Types Of Lubrication System In Detail Notes Pdf

Different Types Of Lubrication System In Detail Notes Pdf

Difference Between Wet Sump And Dry Sump Lubrication System Youtube Sump Mechanical Engineering Work Lubricants

Difference Between Wet Sump And Dry Sump Lubrication System Youtube Sump Mechanical Engineering Work Lubricants

Lubrication

Lubrication

Wet Sump Engine Article About Wet Sump Engine By The Free Dictionary

Wet Sump Engine Article About Wet Sump Engine By The Free Dictionary

1

1

Oil System Differences Wet Vs Dry Sump Know Your Parts

Oil System Differences Wet Vs Dry Sump Know Your Parts

Aircraft Oil And Cooling Systems Aerotoolbox

Aircraft Oil And Cooling Systems Aerotoolbox

Dry Sump Wikipedia

Dry Sump Wikipedia

Engineering Explained Talks Wet Sump Vs Dry Sump In Engine Oil System Comparison Autoevolution

Engineering Explained Talks Wet Sump Vs Dry Sump In Engine Oil System Comparison Autoevolution

Pros And Cons Of A Dry Sump Engine Oiling System

Pros And Cons Of A Dry Sump Engine Oiling System

Wet Sump Lubrication System 3 Types Of Wet Sump Lubrication System

Wet Sump Lubrication System 3 Types Of Wet Sump Lubrication System

Edufirm Types Of Lubrication System

Edufirm Types Of Lubrication System

Wet Sump Lubrication System Explanation Raghu Lesnar Youtube

Wet Sump Lubrication System Explanation Raghu Lesnar Youtube

Sump

Sump

Turbine Engine Wet Sump Lubrication System

Turbine Engine Wet Sump Lubrication System

D8 Audi 1 8 T Dry Sump Lubrication System Explained Donkiespeed Nl

D8 Audi 1 8 T Dry Sump Lubrication System Explained Donkiespeed Nl

Ic Engine In A Wet Sump The Oil That You Put Into The Engine Is Stored Beneath The Crankshaft In The Oil Pan This Pan Has To Be Large And Deep

Ic Engine In A Wet Sump The Oil That You Put Into The Engine Is Stored Beneath The Crankshaft In The Oil Pan This Pan Has To Be Large And Deep

Dry Sump An Overview Sciencedirect Topics

Dry Sump An Overview Sciencedirect Topics

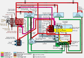
Aircraft Reciprocating Engine Lubrication Systems

Aircraft Reciprocating Engine Lubrication Systems

Wet Sump Lubrication Alternative To Dry Sump Lubrication

Wet Sump Lubrication Alternative To Dry Sump Lubrication

Engine Lubrication Wet Sump Lubrication Working Principle 3d Animation

Engine Lubrication Wet Sump Lubrication Working Principle 3d Animation

Pressure Lubrication Dry Sump Lubrication Explanation

Pressure Lubrication Dry Sump Lubrication Explanation

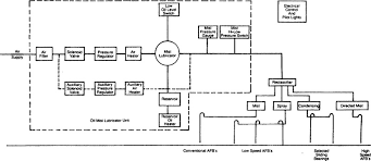
Figure 3 4 Wet Sump Lubrication System For Turbine Engines

Figure 3 4 Wet Sump Lubrication System For Turbine Engines

Difference Between Wet And Dry Sump Lubrication System Mechanical Education Mechanical Education

Difference Between Wet And Dry Sump Lubrication System Mechanical Education Mechanical Education

Is A Dry Sump Oiling System A Good Upgrade For A Street Car

Is A Dry Sump Oiling System A Good Upgrade For A Street Car

Lubrication System Petroil Splash Pressure Semi Pressure Sump Pdf

Lubrication System Petroil Splash Pressure Semi Pressure Sump Pdf

Typical Dry Sump Variable Pressure Lubrication System

Typical Dry Sump Variable Pressure Lubrication System

Oil Systems

Oil Systems

Me Mechanical Engineering Various Lubrication Systems

Me Mechanical Engineering Various Lubrication Systems

1

1

After the oil passes through the engine it returns to the sump.

Components of a wet sump system are similar to a dry sump system except for the location of the oil supply. Oil tanks are generally associated with a dry sump lubrication system while a wet sump system uses the crankcase of the engine to store the oil. This animation explains the basic principle of wet sump lubrication. Three types of Piston Rings Compression Rings Oil Control Rings Oil Scraper Rings 431 434. Splash Lubrication Gear movement passing through an oil sump produces a splash or mist throughout the gearset to wet machine surfaces. In this system oil is transported to various engine parts with a sump strainer. TYPICAL WET SUMP SYSTEM In a typical Wet Sump system oil is stored in the bottom of the pan and distributed throughout the engine by an internally-mounted pump. After the oil passes through the engine it returns to the sump. Three Functions of a piston ring Prevent leakage of gas.


Two Basic types of librication system used in an aircraft. The use of a wet or dry sump oil system is usually based on the level of competition and a racers budget. This allows for lighter lubrication system and this system performs better in racetrack conditions. It is collected up by a pump and circulated through the engine lubricating system. Answer 1 of 4. Three Functions of a piston ring Prevent leakage of gas. What are the types of lubrication systems.

Post a Comment for "Wet Sump Lubrication System"